HL-2000 serie
Udskriv denne side Start side Foregående side Næste side

Hvad er der i kassen?

Kontroller, om du har alle følgende dele efter udpakning.

  1. Printer
  2. Tromleenheden og tonerpatronen
  3. Hurtig installationsanvisning
  4. Cd-rom
  5. Strømkabel
Komponenterne kan variere fra land til land.
Bemærk
Strømkablet kan se en smule anderledes ud end i ovenstående diagram afhængigt af, hvilket land printeren er købt i.

Interfacekabel

Interfacekablet er ikke standardtilbehør. Du skal selv købe det rigtige interfacekabel til det interface, du har tænkt dig at bruge (USB, parallelt eller netværk)
    • USB-kabel
Brug ikke et USB-kabel, der er længere end 2,0 meter.
Slut ikke USB-kablet til en USB-hub uden strømforsyning eller et Mac®-tastatur.
Når du anvender et USB-kabel, skal du sørge for at slutte det til pc’ens USB-stik.
USB understøttes ikke under Windows® 95 eller Windows NT® 4.0.
    • Parallelt interface (HL-2040 and HL-2070N)
Brug ikke et parallelt interfacekabel, der er længere end 2,0 meter.
Brug et afskærmet interfacekabel, der er IEEE 1284-kompatibelt.
    • Netværkskabel (HL-2070N)
Brug et straight-through Category5 (eller større) parsnoet kabel til 10BASE-T- eller 100BASE-TX Fast Ethernet-netværk.

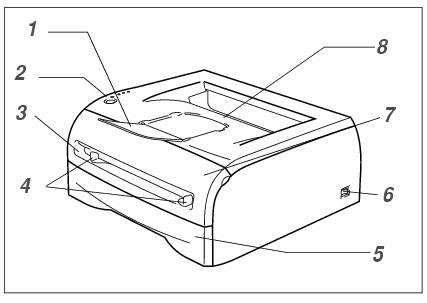
Set forfra

  1. Udskriftsside ned-bakkens støtteflap (støtteflap)
  2. Kontrolpanel
  3. Bakke til manuel fødning
  4. Papirstyr til manuel fødning
  5. Papirbakke
  6. Strømafbryder
  7. Kabinetlåg, forside
  8. Udskriftsside ned-bakke

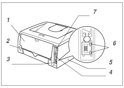
Set bagfra

  1. Kabinetlåg, bagside
  2. Stik til strømkabel
  3. 10/100BASE-TX-port (HL-2070N)
  4. Parallelt interfacestik (HL-2040 og HL-2070N)
  5. Kabinetsidelåg
  6. LED (Light-emitting Diode) (HL-2070N)
  7. USB-interfacestik
Printerillustrationen er baseret på HL-2070N-printeren.
Udskriv denne side Start side Foregående side Næste side

Brother Support Internetside | Global Brother

Copiright © Brother Industries, Ltd. Alle rettigheder forbeholdes