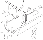
Streaks or poor quality characters on printed labels generally indicates that the print head and head roller is dirty. Clean the print head using a dry cotton swab or optional print head cleaning cassette (TZe-CL4).

Note
| | See the instructions provided with the print head cleaning cassette for directions on how to use it. |


WARNING
| | Do not touch the print head directly with your bare hands. The print head may be hot. |
| • | Print head | | | 1. | Cotton swab | | 2. | Print head |
| | | | | | | | |
|
| • | Head roller | | | 1. | Cotton swab | | 2. | Head roller |
|
|