Liniile sau caracterele de calitate slabă de pe etichetele imprimate indică în general faptul că există murdărie pe capul de imprimare și pe rola acestuia. Curățați capul de imprimare cu ajutorul unui bețișor cu vată uscată sau al casetei opționale pentru curățarea capului de imprimare (TZe-CL4).

Notă
| | Consultați instrucțiunile furnizate cu caseta pentru curățarea capului de imprimare pentru indicații privind modul de utilizare a acesteia. |


AVERTIZARE
| | Nu atingeți capul de imprimare direct cu mâinile goale. Capul de imprimare poate fi fierbinte. |
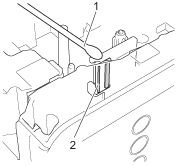
| • | Cap de imprimare | | | 1. | Bețișor cu vată | | 2. | Cap de imprimare |
| | | | | | | | |
|
| • | Rolă cap de imprimare | | | 1. | Bețișor cu vată | | 2. | Rolă cap de imprimare |
|
|