JX2417
FAQs & Troubleshooting |
How do I thread my machine?
Upper threading

(1) Spool pin
(2) Thread guide (back)
(3) Thread guide (front)
(4) Thread take-up lever
(5) Mark on the handwheel
- When threading the upper thread, carefully follow the instructions. If the upper threading is not correct, the thread may become tangled or the needle may bend or break.
- Never use a thread weight of 20 or lower.
- Use the needle and the thread in the correct combination. For details on the correct combination of needles and threads, refer to the section of “Combination of fabric, thread and needle”.
- If you incorrectly feed the thread you may cause sewing problems.
-
Turn off the machine.

-
Raise the presser foot lever.

(1) Presser foot lever
-
Raise the needle by turning the handwheel toward you (counterclockwise) so that the mark on the wheel points up.

(1) Mark on the wheel
If the needle is not correctly raised, the sewing machine can not be threaded.
-
Pull up the spool pin completely.

-
Put a spool of thread on this pin.

If the spool of thread is in the wrong place, or is set incorrectly, the thread may tangle on the spool pin and cause the needle to break.
-
While holding the thread from the spool with your right hand, pass the thread toward you, in the groove on the thread guide.
(1) Spring
Make sure that the spring in the groove catches the thread. -
Feed the upper thread as shown in the following illustration.

-
Make sure you guide the thread through the thread take-up lever from right to left as shown in the following illustration.

(1) Thread take-up lever
If the thread take-up lever is lowered, the upper thread can not be wrapped around the thread take-up lever.
Make sure you raise the needle by turning the handwheel toward you (counterclockwise) so that the mark on the wheel points up.
-
Put the thread behind the guide above the needle.
The thread can easily be passed behind the needle bar thread guide by holding the thread in your left hand, then feeding the thread with your right hand.

(1) Needle bar thread guide
- The needle threader can be used with a 75/11 through 100/16 home sewing machine needle. However, the needle threader cannot be used with a 65/9 home sewing machine needle. When using special thread such as transparent nylon thread or metallic thread, the needle threader cannot be used.
- Thread with a thickness of 130/120 or thicker cannot be used with the needle threader.
- The needle threader cannot be used with the wing needle or the twin needle.
- If the needle threader cannot be used, thread the needle manually.
-
Lower the presser foot lever.
-
Make sure that the mark on the wheel points up as shown in the following illustration.

(1) Mark on the wheel
-
While lowering the needle threader lever, hook the thread onto the guide.

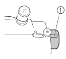
(1) Needle holder
(2) Needle threader lever

(1) Needle holder
(2) Needle threader lever
(3) Guide
-
Pull down the needle threader lever as much as possible, and then turn the lever toward the back of the machine (away from you). Make sure that the hook passes through the eye of the needle and grabs the thread.

(1) Hook
(2) Thread
Hold the thread in front of the needle to make sure that the hook grabs it.
-
While lightly holding the thread, turn the needle threader lever toward the front of the machine (toward you).
The hook will pull the thread through the needle.

-
Raise the needle threader lever.

-
Pull the loop of the thread passed through the eye of the needle toward the rear of the machine.

(1) Loop of thread
Be careful not to pull on the thread with force or it may bend the needle.
If the thread does not pass through the eye of the needle, start from step 11 again.
-
Raise the presser foot lever.
-
Pass the end of the thread through the presser foot, and then pull out about 5 cm (2 inches) of thread toward the rear of the machine.

(1) 5cm (2 inches)
- Make sure you raise the presser foot lever and the thread take-up lever before you feed the upper thread.
- If you incorrectly feed the thread you may cause sewing problems.
- Start sewing after threading the lower and upper thread. When sewing gathers or darts, you can draw up the lower thread by hand so that some thread will be left over. Refer to the steps in How do I draw up the lower thread by hand?
